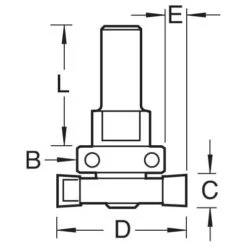
Bearing guided intumescent strip cutter for routing the groove for intumescent strip in a frame or door.
- A range of sizes available to suit 4mm thick strip from 10mm to 25mm width.
- Intumescent strip is used to create an effective barrier to both fire and smoke.
- Choose alternative bearings to suit other thicknesses of intumescent strip.



































Reviews
There are no reviews yet.