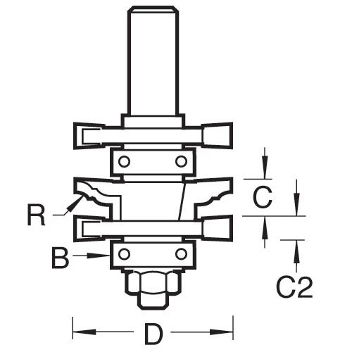
These tools produce the same type of joint & use the same components as the combination PSC sets.
- Both parts of the joint are cut by only changing the cutter height.
- No reassembly of parts is required, to convert the tool from scribing mode to profiling mode and vise-versa.
- Router table use only.
































Reviews
There are no reviews yet.